
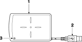
N° | Nom | Description |
|---|---|---|
1 | Zone de lecture de la carte | Lit la carte IC passée au-dessus à des fins d'enregistrement ou d'authentification. |
2 | Câble USB | Relié au port USB de la machine. |
3 | LED d'état | Jaune vert : La machine fonctionne normalement Orange : Communication non disponible Rouge : Problème machine |

L'unité d'authentification AU-201S est disponible en option. La commercialisation repose entièrement sur l'utilisation de ce produit en l'état.
Nous déclinons toute responsabilité en cas de dommages (y compris un manque à gagner ou tout autre dommage associé) causés par ce produit et dus à des opérations non décrites dans le présent Guide de l'utilisateur.
Ce produit est conçu, fabriqué et prévu pour une utilisation professionnelle générale. Ne l'utilisez pas pour des applications nécessitant une haute fiabilité, susceptibles d'avoir un impact néfaste sur les hommes et les biens matériels.
Applications nécessitant une haute fiabilité : gestion d'usine de produits chimiques, gestion d'équipement médical, gestion de communication d'urgence, etc.
L'utilisation avec d'autres dispositifs d'authentification n'est pas garantie.
Afin d'intégrer les derniers perfectionnements du produit, les spécifications techniques concernant ce produit peuvent être modifiées sans préavis.
La carte IC ne doit pas être stockée à moins de 40 mm / 1.57" de la zone de numérisation des cartes.