Vous pouvez ajuster le sens de profondeur des positions des trous perforés pour corriger le mauvais alignement de la position des trous perforés par rapport au centre des documents perforés.
A titre d'exemple, cette section explique comment ajuster la position des trous perforés en utilisant l'Unité de finition FS-532 équipée de l'Unité de perforation PK-522 quand il y a un problème d'alignement vers le haut (vers le bas) de 1,5 mm par rapport au centre es feuilles de papier.
Signification et objet du réglage de la position de perforation verticale
Quand la position des trous perforés est mal alignée par rapport au centre du papier, cette fonction vous permet de déplacer la position des trous perforés vers l'avant ou vers l’arrière en spécifiant la valeur souhaitée.
Valeur - : déplacement de la position de perforation vers l'avant (vers le bas).
Valeur + : déplacement de la position de perforation vers l'arrière (vers le haut).
Quand exécuter
Quand le centre de la position des trous perforés et le centre du papier sont mal alignés.
Environnement prévu
Contrôleur d'image | Contrôleur image intégré |
Unité de finition installée | Unité de finition FS-532 avec l'Unité de Perforation PK-522 installée |
* L'écran d'illustration peut différer de l'affichage réel en fonction de l'environnement système.
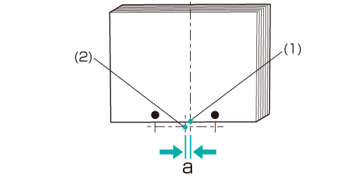
Mesurez le manque d'alignement actuel 'a' de la position du trou perforé à l'aide d'une règle.
Explication supplémentaireMesurez la différence de position entre la ligne centrale du papier (1) et la position des trous perforés (2) (= largeur 'a').

Sur l'écran tactile de l'imprimante, appuyez sur Réglage sur l'écran UNITÉ PRINC.
Appuyez sur Réglages finition sur l'écran Menu Réglage.
Appuyez sur Agrafeuse dans le menu Réglages finition.
Appuyez sur Réglage agrafeuse (perf) du menu Agrafeuse.
Appuyez sur Reg. position verticale (CD) du menu Réglage agrafeuse (perfo). 
Appuyez sur le format papier à régler. Entrez la valeur de réglage et appuyez sur Valider.
Exemple : définition de la position de perforation pour Décalage taille réelle (tout format papier)
vers le bas (vers l'avant) de 1,5 mm.
Élément | Réglage |
|---|---|
Décalage taille réelle | Décalage de 1,5 mm vers le bas (avant) (-15)
|

Explication supplémentaireUtilisez le clavier à l'écran pour définir la valeur.
Explication supplémentaireUtilisez les touches +/- pour spécifier une valeur positive ou négative.
Explication supplémentaireLes valeurs sont exprimées en incréments de 0,1 mm. (1 = 0,1 mm)
Explication supplémentaireEn appuyant sur Impression vous passez au mode d'impression qui vous permet d'imprimer l'original.
Imprimez à nouveau l'original et assurez-vous que la position centrale des trous perforés n'est pas mal alignée.
Répétez les étapes ci-dessus jusqu'à ce que la position centrale des trous perforés souhaitée soit obtenue.
