
N° | Nom | Description |
|---|---|---|
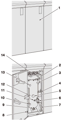
1 | Porte avant de perforation multiple | A ouvrir pour permettre le remplacement d'un emporte-pièce ou l'enlèvement des déchets de perforation ou le dégagement des feuilles coincées. |
2 | Levier [GP1] | A ouvrir vers le haut pour dégager les feuilles coincées. |
3 | Bouton [GP1] | A tourner pour permettre le dégagement des feuilles coincées. |
4 | Levier [GP2] | A ouvrir vers le haut pour dégager les feuilles coincées. |
5 | Bouton [GP4] | A tourner en sens horaire pour le remplacement d'un emporte-pièce ou le dégagement des feuilles coincées. |
6 | Jeu de matrices | Perfore différents types de trous de classement. |
7 | Corbeille de chutes de perforation | A tirer pour enlever les chutes de perforation. |
8 | Interrupteur d'alimentation | Allume/éteint la perforeuse multiple. |
9 | Levier [GP5] | A ouvrir vers le bas pour l'enlèvement des bourrages papier. |
10 | Bouton [GP7] | A tourner pour permettre le dégagement des feuilles coincées. |
11 | Indicateur de position de la lame de l'emporte-pièce | Sert à vérifier la position de la lame du jeu de matrice déplacée en tournant le bouton [GP4] pour remplacer le jeu de matrice ou éliminer un bourrage papier. |
12 | Levier [GP6] | A ouvrir vers le haut et vers la gauche pour dégager les feuilles coincées. |
13 | Bouton [GP8] | A tourner pour permettre le dégagement des feuilles coincées. |
14 | Rangement des emporte-pièces | Permet d'entreposer les emporte-pièces. |