

N° | Nom | Description |
|---|---|---|
1 | Porte gauche du magasin | Ouverte pour l'élimination de papier coincé au niveau de la porte droite de la machine ou des magasins du chargeur papier. |
2 | Molette de la porte gauche du magasin | A actionner pour ouvrir la porte gauche du magasin. |
3 | Magasin supérieur (Magasin 3) (Magasin 6 pour la 2ème unité, Magasin 9 pour la 3ème unité) | Contient 1390 feuilles (80 g/m2 / 21 lb Bond). |
4 | Magasin intermédiaire (Magasin 4) (Magasin 7 pour la 2ème unité, Magasin 10 pour la 3ème unité) | Contient 1390 feuilles (80 g/m2 / 21 lb Bond). |
5 | Magasin inférieur (Magasin 5) (Magasin 8 pour la 2ème unité, Magasin 11 pour la 3ème unité) | Contient 1850 feuilles (80 g/m2 / 21 lb Bond). |
6 | Fenêtre de confirmation de bulle d'air | Ouvrez cette fenêtre pour vérifier la fonctionnalité d'alimentation papier pendant le réglage de la ventilation dans le magasin intermédiaire et le magasin inférieur. La vérification ne s'applique pas au magasin supérieur. |
7 | Poignée du magasin | Permet de tirer le magasin. |
8 | Levier PF1 | Ouverture vers la gauche pour l'élimination de bourrage papier. |
9 | Levier PF2 | Ouverture vers la gauche pour l'élimination de bourrage papier. |
10 | Levier PF4 | Ouverture supérieure droite pour l'élimination de bourrage papier. |
11 | Indicateur Format papier | Indique la position des plaques-guide latérales qui convient au chargement du format papier. |
12 | Boutons de verrouillage des guides latéraux (2 pièces) | Tourné pour déplacer ou immobiliser les plaques-guide latérales. |
13 | Buse d'air du bord du papier | Souffle de l'air pour séparer le papier d'impression. |
14 | Réglettes pour petits formats (2 pièces) | Ouverture vers l'intérieur pour papier d'impression d'une largeur inférieure à 139,7 mm / 4,5". |
15 | Levier de fixation de la plaque de maintien du papier (2 pièces) | Laissez le lever en position bloquée à droite ; déplacer (faire coulisser) le levier risque d'affecter la fonctionnalité d'alimentation en papier. |
16 | Buse d'air latérale | Envoie de l'air pour soulever légèrement le papier afin d'éviter une double introduction. |
17 | Levier de déblocage du guide de bord arrière | Poussé à gauche pour déverrouiller la plaque-guide arrière. |
18 | Levier de déverrouillage du guide latéral | Poussé vers l'arrière pour déverrouiller les plaques-guide latérales. |
19 | Levier de réglage de position du capteur de limite supérieure | Laissez le levier en position bloquée en bas ; relever le levier risque d'affecter la fonctionnalité d'alimentation papier. |
20 | Molette de fixation la plaque du fond | Coulissée vers l'avant et tournée dans le sens horaire pour maintenir le plateau inférieur en position élevée. |
21 | Plaques-guide latérales (2 pièces) | Permettent d'aligner les bords du papier chargé. |
22 | Plaque-guide arrière | Permet d'aligner le bord arrière du papier chargé. |
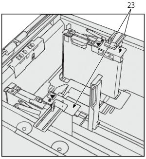
23 | Guides latéraux auxiliaires (2 pièces) | Montez ces guides sur les plaques-guides latérales lors du chargement de papier à onglet. |