À propos de cette machine|Perforeuse multiple GP-501

Perforeuse multiple GP-501

Nom

Description

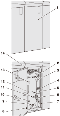
1

Porte avant de perforation multiple

A ouvrir pour permettre le remplacement d'un emporte-pièce ou l'enlèvement des déchets de perforation ou le dégagement des feuilles coincées.

2

Levier [GP1]

A ouvrir vers le haut pour dégager les feuilles coincées.

3

Bouton [GP1]

A tourner pour permettre le dégagement des feuilles coincées.

4

Levier [GP2]

A ouvrir vers le haut pour dégager les feuilles coincées.

5

Bouton [GP4]

A tourner en sens horaire pour le remplacement d'un emporte-pièce ou le dégagement des feuilles coincées.

6

Jeu de matrices

Perfore différents types de trous de classement.

7

Corbeille de chutes de perforation

A tirer pour enlever les chutes de perforation.

8

Interrupteur d'alimentation

Allume/éteint la perforeuse multiple.

9

Levier [GP5]

A ouvrir vers le bas pour l'enlèvement des bourrages papier.

10

Bouton [GP7]

A tourner pour permettre le dégagement des feuilles coincées.

11

Indicateur de position de la lame de l'emporte-pièce

Sert à vérifier la position de la lame du jeu de matrice déplacée en tournant le bouton [GP4] pour remplacer le jeu de matrice ou éliminer un bourrage papier.

12

Levier [GP6]

A ouvrir vers le haut et vers la gauche pour dégager les feuilles coincées.

13

Bouton [GP8]

A tourner pour permettre le dégagement des feuilles coincées.

14

Rangement des emporte-pièces

Permet d'entreposer les emporte-pièces.