Réglez les positions de pli pour le mode Pliage économique déterminées par l'Unité de pliage FD‑503.
Objets de réglage : Décal. pr taille réelle, A3
, B4
, SRA4
, A4
, 12
18
, 11
17
, 8,5
14
, 8,5
11
, 8K
, Personnalisé (380 - 458 mm), Personnalisé (279 - 379 mm)

Lorsque vous réglez le premier et le second pli, commencez toujours par le réglage du premier pli.

Si une valeur numérique est spécifiée dans le champ [Décal.pr taille réelle], elle s'applique à tous les formats papier. Dans le cas d'un format papier spécifique sélectionné, la valeur de réglage devient la somme de la valeur entrée et de la valeur précédemment spécifiée pour [Décal.pr taille réelle].
Appuyez sur [Réglage] sur l'écran [MACHINE] pour afficher l'écran [Menu réglages].
Appuyez successivement sur [Réglages finition], [Réglage plieuse], [Unité pliage (Plieuse)] et [Pliage économique].
Sélectionnez le format à régler à l'aide de [
] ou [
].
Appuyez sur [Impression].
Chargez le papier dont il faut régler le format, puis sélectionnez ce magasin.
Appuyez sur Départ sur le panneau de contrôle.
La machine éjecte un jeu.
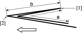
Mesurez les longueurs (a) et (b) du papier imprimé.
Tolérance : a ± 1,5 mm, b ± 1,5 mm
Format document | a | b |
|---|---|---|
A3 | 208,5 mm | 103,8 mm |
B4 | 175,0 mm | 87,0 mm |
SRA4 | 158,5 mm | 78,7 mm |
A4 | 147,0 mm | 73,0 mm |
12 | 227,1 mm | 113,1 mm |
11 | 214,4 mm | 106,7 mm |
8,5 | 176,3 mm | 87,7 mm |
8,5 | 138,2 mm | 68,6 mm |
8K | 193,5 mm | 96,3 mm |
[1] Pliage 1 [2] Pliage 2 
Si un réglage est nécessaire, appuyez sur [Retour réglage] pour revenir à l'écran [Pliage économique].
Sélectionnez [Pliage 1] et utilisez le clavier de l'écran tactile pour entrer la valeur de réglage.
Utilisez les touches [+/-] pour spécifier une valeur positive ou négative.
Appuyez sur [Valider] pour modifier la valeur actuelle.
Plage de réglage : -50 ([pour rapprocher]) à +50 ([pour espacer]) (1 pas = 0,1 mm)

Sélectionnez [Pliage 2] et utilisez le clavier de l'écran tactile pour entrer la valeur de réglage.
Utilisez les touches [+/-] pour spécifier une valeur positive ou négative.
Appuyez sur [Valider] pour modifier la valeur actuelle.
Plage de réglage : -50 ([pour rapprocher]) à +50 ([pour espacer]) (1 pas = 0,1 mm)

Répétez les étapes 4 à 10 jusqu'à obtention du résultat souhaité.
Appuyez sur [Retour].
L'écran [Menu réglages pliage (Plieuse)] réapparaît.