Vous pouvez ajuster le sens de profondeur des positions des trous perforés pour corriger le mauvais alignement de la position des trous perforés par rapport au centre des documents perforés.
A titre d'exemple, cette section explique comment ajuster la position des trous perforés en utilisant l'Unité de finition FS-532 équipée de l'Unité de perforation PK-522 quand il y a un problème d'alignement vers le haut (vers le bas) de 1,5 mm par rapport au centre es feuilles de papier.
• Signification et objet du réglage de la position de perforation verticale
Quand la position des trous perforés est mal alignée par rapport au centre du papier, cette fonction vous permet de déplacer la position des trous perforés vers l'avant ou vers l’arrière en spécifiant la valeur souhaitée.
Les valeurs négatives déplacent la position des trous perforés vers l'avant (vers le bas).
Les valeurs positives déplacent la position des trous perforés vers l'arrière (vers le haut).
• Quand exécuter
Quand le centre de la position des trous perforés et le centre du papier sont mal alignés.
• Environnement prévu
Contrôleur d'image | Contrôleur d'image IC-602 |
Unité de finition installée | Unité de finition FS-532 avec l'Unité de Perforation PK-522 installée |
* L'écran d'illustration peut différer de l'affichage réel en fonction de l'environnement système.
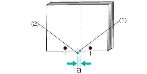
Mesurez le manque d'alignement actuel 'a' de la position du trou perforé à l'aide d'une règle.
Mesurez la différence de position entre la ligne centrale du papier (1) et la position des trous perforés (2) (= largeur 'a').

Sur l'écran tactile de l'imprimante, appuyez sur [Réglage] sur l'écran [MACHINE].
Appuyez sur [Réglages finition] sur l'écran [Menu réglages].
Appuyez sur [Agrafeuse] dans le menu [Réglages finition].
Appuyez sur [Réglage agrafeuse (perf)] du menu [Réglages agrafeuse].
Appuyez sur [Reg. position verticale (CD)] du menu [Réglage agrafeuse (perfo)].
Appuyez sur le format papier à régler. Entrez la valeur de réglage et appuyez sur [Valider].
Exemple : descendez la position des trous perforés pour [Décal.pr taille réelle] (tous les formats de papier) (vers l'avant) de 1,5 mm.
Elément | Réglage |
|---|---|
[Décal.pr taille réelle] | Décalage de 1,5 mm vers le bas (avant) (-15)
|

Utilisez le clavier à l'écran pour définir la valeur.
Utilisez les touches [+/-] pour spécifier une valeur positive ou négative.
Les valeurs sont exprimées en incréments de 0,1 mm. (1 = 0,1 mm)
En appuyant sur [Impression] vous passez au mode d'impression qui vous permet d'imprimer l'original.
Imprimez à nouveau l'original et assurez-vous que la position centrale des trous perforés n'est pas mal alignée.
Répétez les étapes ci-dessus jusqu'à ce que la position centrale des trous perforés souhaitée soit obtenue.
