Réglez les positions de pli pour le mode Pliage en Z déterminées par l'Unité de pliage FD‑503.
Objets de réglage : Décalage taille réelle, A3 short edge feed, B4 short edge feed, SRA4 short edge feed, A4 short edge feed, 12 18 short edge feed, 11 17 short edge feed, 8.5 14 short edge feed, 8.5 11 short edge feed, 8K short edge feed, Personnalisé (380 - 458 mm), Personnalisé (279 - 379 mm)
Lorsque vous réglez l'ensemble des plis 1, 2 et 3, commencez toujours par régler le premier pli.
Si une valeur numérique est spécifiée dans le champ Décalage taille réelle, elle s'applique à tous les formats papier. Dans le cas d'un format papier spécifique sélectionné, la valeur de réglage devient la somme de la valeur entrée et de la valeur précédemment spécifiée pour Décalage taille réelle.
Appuyez sur Réglage sur l'écran UNITÉ PRINC. pour afficher l'écran Menu réglage.
Appuyez consécutivement sur Réglages finition, Réglage plieuse, Unité pliage (Plieuse) et Pliage portefeuille.
Sélectionnez le format à régler avec down ou up. 
Appuyez sur Impression.
Chargez le papier dont il faut régler le format, puis sélectionnez ce magasin.
Appuyez sur Départ sur le panneau de contrôle.
La machine éjecte un jeu.
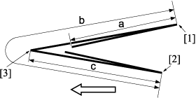
Mesurez les longueurs (a), (b) et (c) du papier imprimé.
Tolérance : a ± 1,5 mm, b ± 1,5 mm, c ± 1,5 mm
Format papier | a | b | C |
|---|---|---|---|
A3 short edge feed | 103,5 mm | 213,0 mm | 106,5 mm |
B4 short edge feed | 89.5 mm | 185.0 mm | 92.5 mm |
SRA4 short edge feed | 78,5 mm | 163,0 mm | 81,5 mm |
A4 short edge feed | 72,8 mm | 151,5 mm | 75,8 mm |
12 18 short edge feed | 112,8 mm | 231,6 mm | 115,8 mm |
11 17 short edge feed | 106,5 mm | 218,9 mm | 109,5 mm |
8.5 14 short edge feed | 87,4 mm | 180.8 mm | 90,4 mm |
8.5 11 short edge feed | 68,4 mm | 142,7 mm | 71,4 mm |
8K short edge feed | 96,0 mm | 198,0 mm | 99,0 mm |
[1] Pliage 1 [2] Pliage 2 [3] Pliage
Si un réglage est nécessaire, appuyez sur Retour réglage pour revenir à l'écran Pliage portefeuille.
Sélectionnez Pliage 1 et utilisez le clavier de l'écran tactile pour entrer la valeur de réglage.
Explication supplémentaireUtilisez les touches +/- pour spécifier une valeur positive ou négative.
Explication supplémentaireAppuyez sur Valider pour modifier la valeur actuelle.
Explication supplémentairePlage de réglage (Pliage 1) : -50 (Rétrécissement) à +50 (Élargissement) (1 pas = 0,1 mm)

Sélectionnez Pliage 2 et utilisez le clavier de l'écran tactile pour entrer la valeur de réglage.
Explication supplémentaireUtilisez les touches +/- pour spécifier une valeur positive ou négative.
Explication supplémentaireAppuyez sur Valider pour modifier la valeur actuelle.
Explication supplémentairePlage de réglage (Pliage 2) : -50 (Élargissement) à +50 (Rétrécissement) (1 pas = 0,1 mm)

Sélectionnez Pliage 3 et utilisez le clavier de l'écran tactile pour entrer la valeur de réglage.
Explication supplémentaireUtilisez les touches +/- pour spécifier une valeur positive ou négative.
Explication supplémentaireAppuyez sur Valider pour modifier la valeur actuelle.
Explication supplémentairePlage de réglage (Pliage 3) : -50 (Rétrécissement) à +50 (Élargissement) (1 pas = 0,1 mm)

Répétez les étapes 4 à 11 jusqu'à obtention du résultat souhaité.
Appuyez sur Retour.
L'écran Menu Réglage Unité pliage (Plieuse) réapparaît.